专利数据库
统计分析
产业报告
专利数据监控
产业人才
行业动态
产业政策法规
维权援助
个人中心
详情
文本
图像
标题
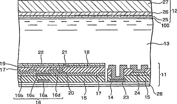
Semi-transmission type liquid crystal display which reflects incident light coming from outside to provide a display light source and transmits light from a light source at the back
授权日
2008-05-06
公开(公告)号
US7369200
申请日
2005-09-28
公开(公告)日
2008-05-06
当前申请(专利权)人
NLT TECHNOLOGIES, LTD.
发明人
IKENO, HIDENORI | SUZUKI, MASAYOSHI
简单同族
CN100529922C | CN1402065A | JP2003057639A | JP4689900B2 | KR100491372B1 | KR1020030017372A | TW583427B | US20030038908A1 | US20050094068A1 | US20060066782A1 | US20070211186A1 | US20080198312A1 | US6831715 | US7369200 | US7649597
简单同族成员数量
15
简单同族被引用专利总数
75
诉讼案件数
0
法律状态/事件
授权 | 权利转移
抱歉,您的浏览器不支持PDF预览,请点击链接下载PDF文件