专利数据库
统计分析
产业报告
专利数据监控
产业人才
行业动态
产业政策法规
维权援助
个人中心
详情
文本
图像
标题
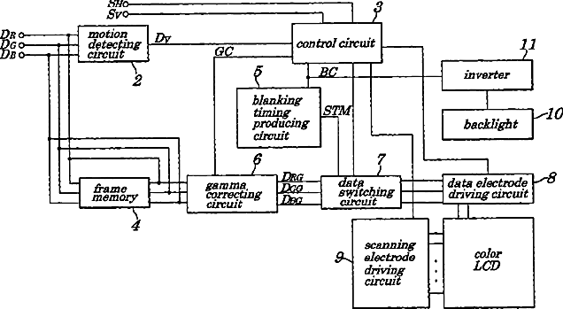
Image display method in transmissive-type liquid crystal display device and transmissive-type liquid crystal display device
授权日
2007-02-06
公开(公告)号
US7173599
申请日
2002-04-23
公开(公告)日
2007-02-06
当前申请(专利权)人
NEC CORPORATION | VISTA PEAK VENTURES, LLC
发明人
NISHIMURA, MITSUHISA
简单同族
DE60230467D1 | EP1255241A1 | EP1255241B1 | JP2002323876A | KR100530403B1 | KR1020020082790A | TW582002B | US20020154088A1 | US7173599
简单同族成员数量
9
简单同族被引用专利总数
193
诉讼案件数
0
法律状态/事件
未缴年费 | 权利转移
抱歉,您的浏览器不支持PDF预览,请点击链接下载PDF文件