专利数据库
统计分析
产业报告
专利数据监控
产业人才
行业动态
产业政策法规
维权援助
个人中心
详情
文本
图像
标题
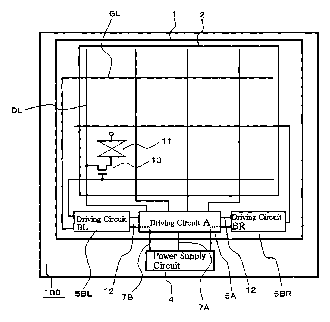
Liquid crystal display device
授权日
2007-02-27
公开(公告)号
US7184010
申请日
2002-09-09
公开(公告)日
2007-02-27
当前申请(专利权)人
PANASONIC LIQUID CRYSTAL DISPLAY CO., LTD.
发明人
AOKI, YOSHINORI | GOTO, MITSURU | SAWAHATA, MASATO | WATANABE, HIROSHI | NUMATA, YUUICHI
简单同族
CN1239945C | CN1410813A | JP2003107520A | JP2003107520A5 | JP3959253B2 | KR100604299B1 | KR1020030028710A | TW552455B | US20030067429A1 | US7184010
简单同族成员数量
10
简单同族被引用专利总数
66
诉讼案件数
0
法律状态/事件
未缴年费 | 权利转移
抱歉,您的浏览器不支持PDF预览,请点击链接下载PDF文件