专利数据库
统计分析
产业报告
专利数据监控
产业人才
行业动态
产业政策法规
维权援助
个人中心
详情
文本
图像
标题
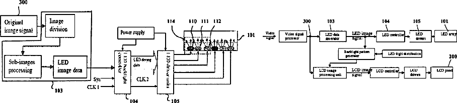
Backlight device and liquid crystal display incorporating the backlight device
授权日
2012-07-24
公开(公告)号
US8228272
申请日
2007-02-16
公开(公告)日
2012-07-24
当前申请(专利权)人
HONG KONG APPLIED SCIENCE AND TECHNOLOGY RESEARCH INSTITUTE COMPANY LIMITED
发明人
PENG, HUAJUN | CHANG, YA-HSIEN | TSAI, CHEN JUNG
简单同族
CN101669064A | CN101669064B | US20080150853A1 | US8228272 | WO2008077331A1
简单同族成员数量
5
简单同族被引用专利总数
116
诉讼案件数
0
法律状态/事件
授权 | 权利转移
抱歉,您的浏览器不支持PDF预览,请点击链接下载PDF文件