专利数据库
统计分析
产业报告
专利数据监控
产业人才
行业动态
产业政策法规
维权援助
个人中心
详情
文本
图像
标题
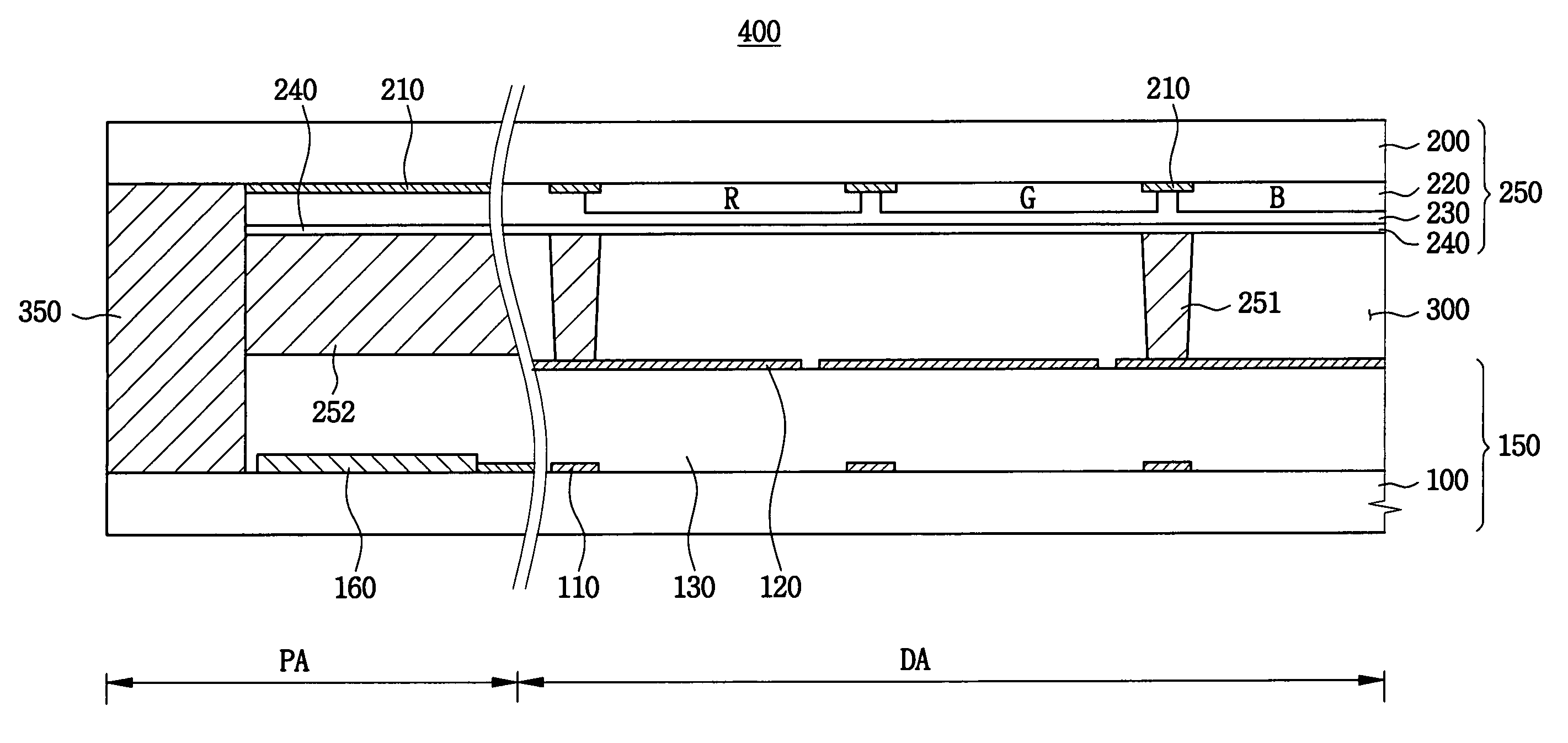
Upper substrate and liquid crystal display device having the same
授权日
2012-02-28
公开(公告)号
US8125601
申请日
2003-12-10
公开(公告)日
2012-02-28
当前申请(专利权)人
SAMSUNG DISPLAY CO., LTD.
发明人
KIM, BONG-JU | YOON, JOO-SUN | YANG, YONG-HO | TAE, SEUNG-GYU | PARK, JIN-SUK | KIM, HYUN-YOUNG | MOON, JI-HYE
简单同族
CN100405138C | CN1517751A | JP2004213026A | JP2010170156A | JP4907844B2 | JP4908612B2 | TW200500703A | TWI386705B | US20040141128A1 | US20100045916A1 | US8125601 | US8149365
简单同族成员数量
12
简单同族被引用专利总数
81
诉讼案件数
0
法律状态/事件
授权 | 权利转移
抱歉,您的浏览器不支持PDF预览,请点击链接下载PDF文件