专利数据库
统计分析
产业报告
专利数据监控
产业人才
行业动态
产业政策法规
维权援助
个人中心
详情
文本
图像
标题
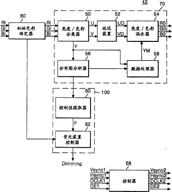
驱动液晶显示器的方法和装置
授权日
2009-07-01
公开(公告)号
CN100507645C
申请日
2004-06-30
公开(公告)日
2009-07-01
当前申请(专利权)人
乐金显示有限公司
发明人
金起德
简单同族
CN100507645C | CN1637827A | KR100525739B1 | KR1020050063563A | US20050219179A1 | US7443377
简单同族成员数量
6
简单同族被引用专利总数
62
诉讼案件数
0
法律状态/事件
授权
抱歉,您的浏览器不支持PDF预览,请点击链接下载PDF文件