专利数据库
统计分析
产业报告
专利数据监控
产业人才
行业动态
产业政策法规
维权援助
个人中心
详情
文本
图像
标题
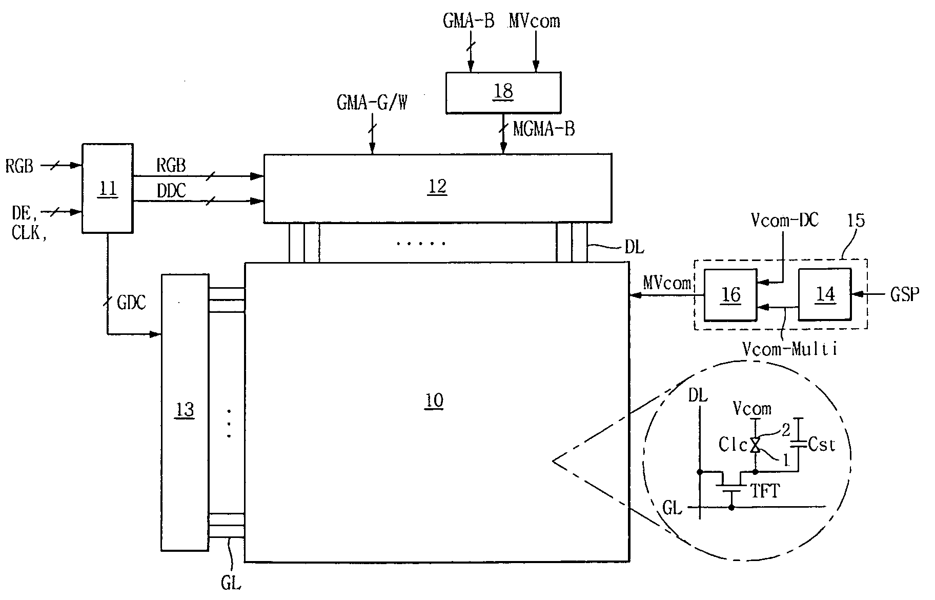
Liquid crystal display device and driving method thereof
授权日
1900-01-01
公开(公告)号
US20100033413A1
申请日
2008-12-22
公开(公告)日
2010-02-11
当前申请(专利权)人
LG DISPLAY CO., LTD.
发明人
SONG, HONGSUNG | MIN, WOONGKI | SON, YONGGI | JANG, SUHYUK
简单同族
CN101645244A | CN101645244B | JP2010044351A | JP4850233B2 | KR101330353B1 | KR1020100019246A | US20100033413A1 | US8125433
简单同族成员数量
8
简单同族被引用专利总数
58
诉讼案件数
0
法律状态/事件
授权 | 权利转移
抱歉,您的浏览器不支持PDF预览,请点击链接下载PDF文件