专利数据库
统计分析
产业报告
专利数据监控
产业人才
行业动态
产业政策法规
维权援助
个人中心
详情
文本
图像
标题
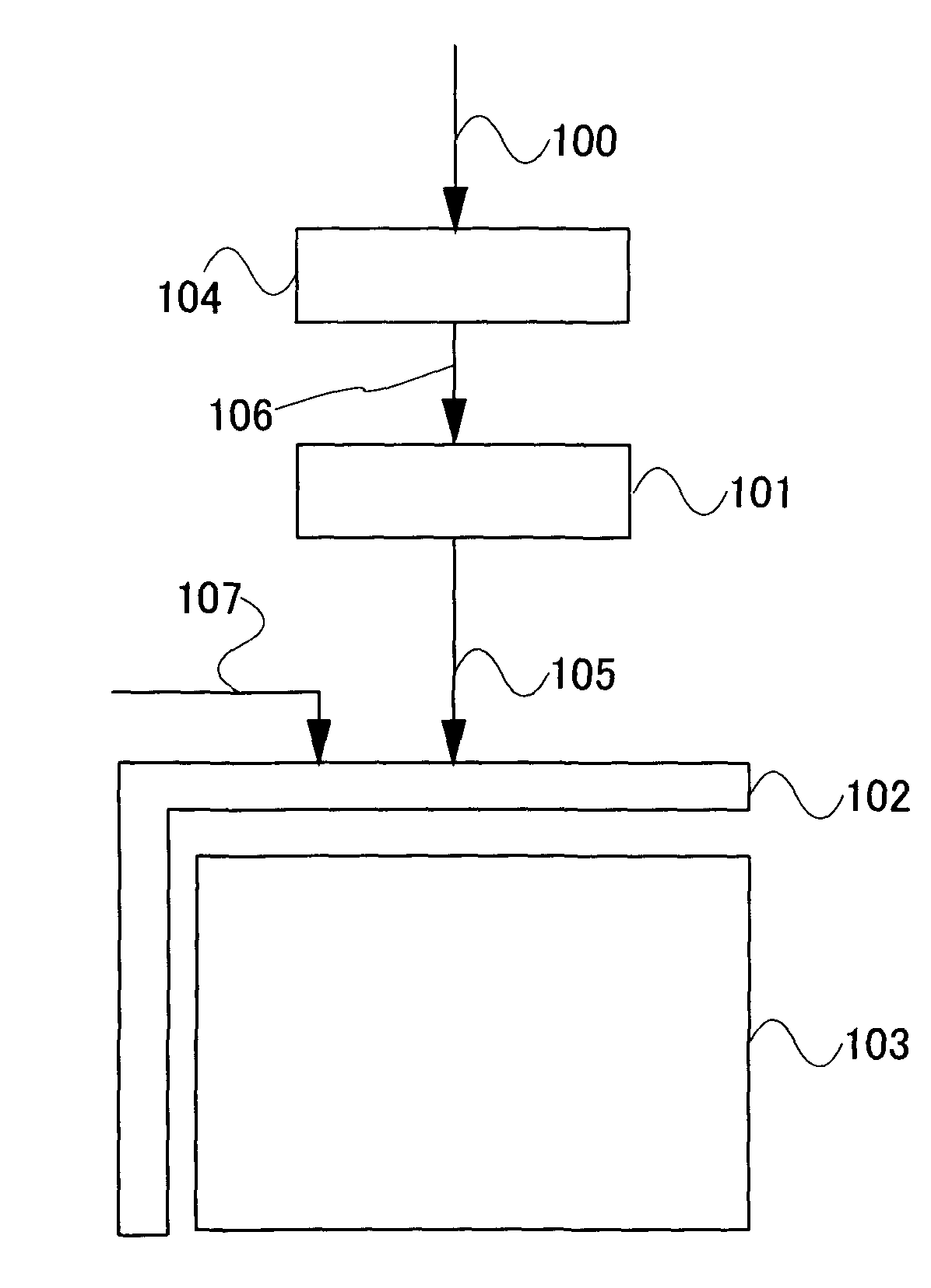
Liquid crystal display device, driving method of the liquid crystal display device, and electronic device employing the same device and the same method
授权日
2016-11-01
公开(公告)号
US9483973
申请日
2008-05-06
公开(公告)日
2016-11-01
当前申请(专利权)人
SEMICONDUCTOR ENERGY LABORATORY CO., LTD.
发明人
KIMURA, HAJIME
简单同族
JP2008287042A | JP2008287042A5 | JP5037221B2 | US20090009455A1 | US9483973
简单同族成员数量
5
简单同族被引用专利总数
104
诉讼案件数
0
法律状态/事件
授权 | 权利转移
抱歉,您的浏览器不支持PDF预览,请点击链接下载PDF文件