专利数据库
统计分析
产业报告
专利数据监控
产业人才
行业动态
产业政策法规
维权援助
个人中心
详情
文本
图像
标题
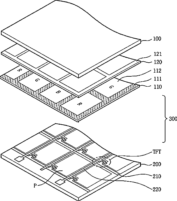
Viewing-angle controllable color filter substrate, liquid crystal display having the same, and manufacturing method thereof
授权日
2009-10-27
公开(公告)号
US7609339
申请日
2006-12-22
公开(公告)日
2009-10-27
当前申请(专利权)人
LG DISPLAY CO., LTD.
发明人
CHOI, SANG HO
简单同族
CN100510890C | CN101097343A | KR101268954B1 | KR1020080001522A | US20080002110A1 | US7609339
简单同族成员数量
6
简单同族被引用专利总数
87
诉讼案件数
0
法律状态/事件
授权 | 权利转移
抱歉,您的浏览器不支持PDF预览,请点击链接下载PDF文件