专利数据库
统计分析
产业报告
专利数据监控
产业人才
行业动态
产业政策法规
维权援助
个人中心
详情
文本
图像
标题
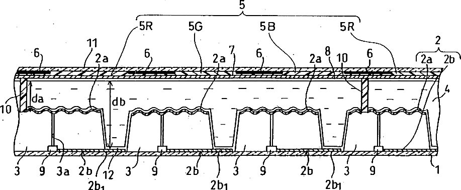
Liquid crystal display and manufacturing method thereof
授权日
1900-01-01
公开(公告)号
US20080174725A1
申请日
2007-10-05
公开(公告)日
2008-07-24
当前申请(专利权)人
SHARP KABUSHIKI KAISHA
发明人
FUJIMORI, KOICHI | NARUTAKI, YOZO | SHINOMIYA, TOKIHIKO
简单同族
JP2002072220A | JP3936126B2 | KR100544554B1 | KR100791180B1 | KR1020020018047A | KR1020040068094A | TW200406627A | TWI269919B | TWI295401B | US20020075441A1 | US20040169810A1 | US20080174725A1 | US6864945 | US7298450 | US7538840
简单同族成员数量
15
简单同族被引用专利总数
146
诉讼案件数
0
法律状态/事件
授权
抱歉,您的浏览器不支持PDF预览,请点击链接下载PDF文件