专利数据库
统计分析
产业报告
专利数据监控
产业人才
行业动态
产业政策法规
维权援助
个人中心
详情
文本
图像
标题
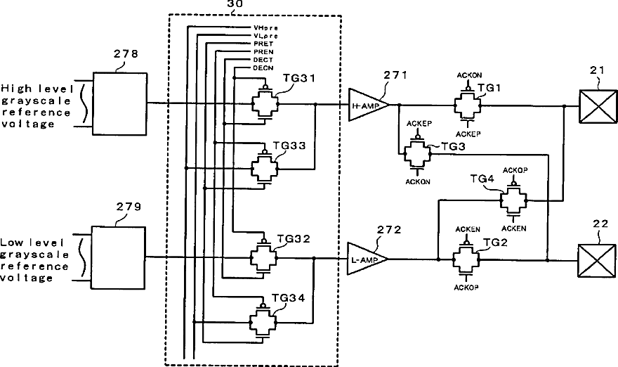
Liquid crystal display device having high speed driver
授权日
2003-03-04
公开(公告)号
US6529180
申请日
2000-07-06
公开(公告)日
2003-03-04
当前申请(专利权)人
PANASONIC LIQUID CRYSTAL DISPLAY CO., LTD.
发明人
ITO, SHIGERU | KATAOKA, NOBORU | OGURA, AKIRA
简单同族
JP2001022328A | JP3681580B2 | KR100343922B1 | KR1020010015252A | TW550532B | US6529180
简单同族成员数量
6
简单同族被引用专利总数
97
诉讼案件数
0
法律状态/事件
授权 | 权利转移
抱歉,您的浏览器不支持PDF预览,请点击链接下载PDF文件