专利数据库
统计分析
产业报告
专利数据监控
产业人才
行业动态
产业政策法规
维权援助
个人中心
详情
文本
图像
标题
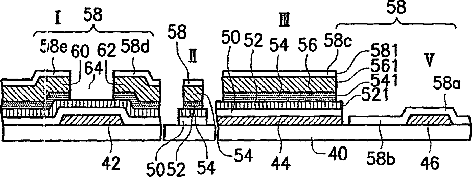
Manufacturing process of thin film transistor liquid crystal display
授权日
1900-01-01
公开(公告)号
US20020052058A1
申请日
2001-10-12
公开(公告)日
2002-05-02
当前申请(专利权)人
AU OPTRONICS CORP.
发明人
TSENG, SHIUH-PING
简单同族
TWI220029B | US20020052058A1 | US20030136991A1 | US20060038181A1 | US6537840 | US6956626
简单同族成员数量
6
简单同族被引用专利总数
60
诉讼案件数
0
法律状态/事件
授权 | 权利转移
抱歉,您的浏览器不支持PDF预览,请点击链接下载PDF文件