专利数据库
统计分析
产业报告
专利数据监控
产业人才
行业动态
产业政策法规
维权援助
个人中心
详情
文本
图像
标题
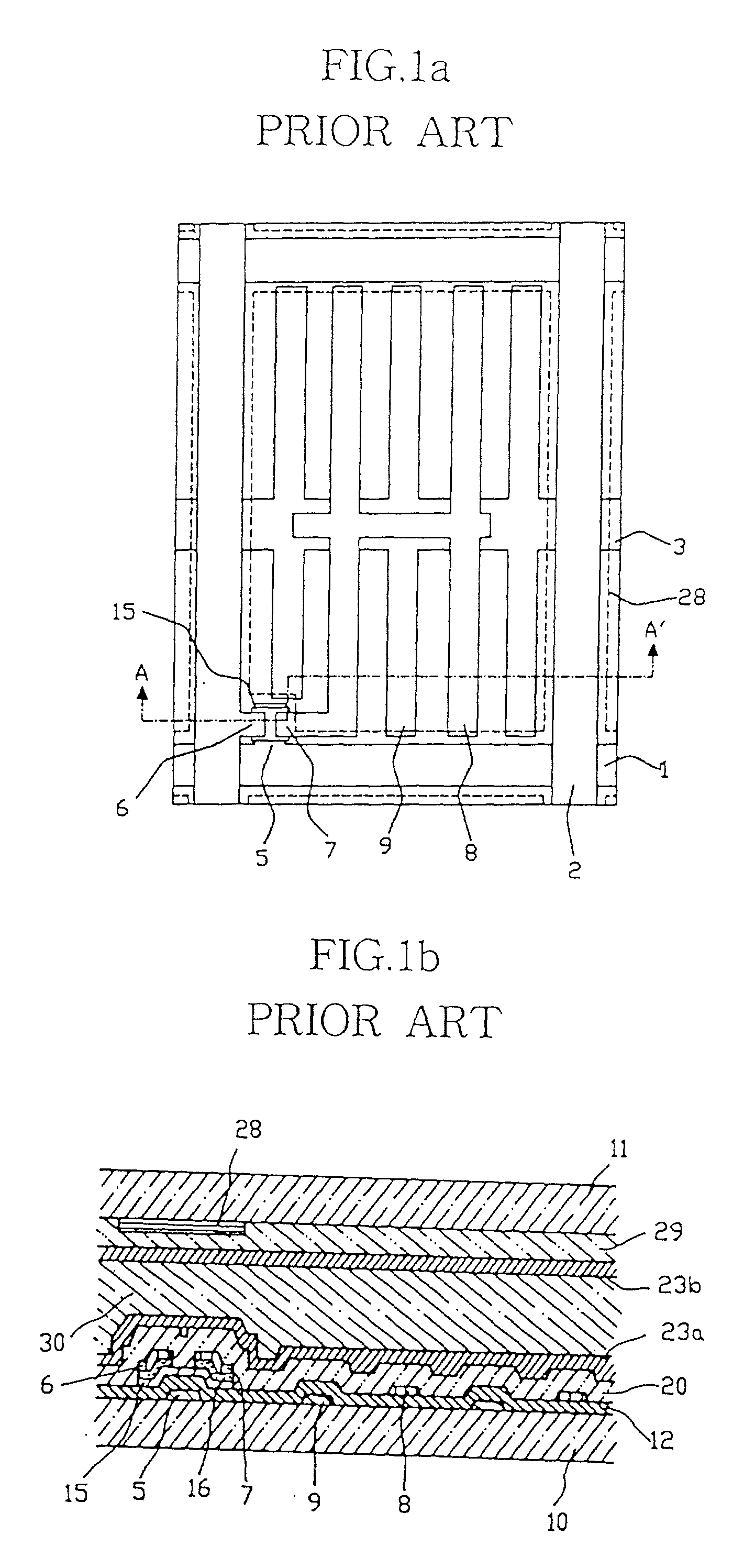
In-plane switching mode liquid crystal display device
授权日
1900-01-01
公开(公告)号
US20010002146A1
申请日
2001-01-03
公开(公告)日
2001-05-31
当前申请(专利权)人
LG DISPLAY CO., LTD.
发明人
KOMATSU, HIROSHI
简单同族
KR100251512B1 | KR1019990009891A | US20010002146A1 | US20020060769A1 | US6259502 | US6384888 | US6741312
简单同族成员数量
7
简单同族被引用专利总数
109
诉讼案件数
0
法律状态/事件
期限届满 | 权利转移
抱歉,您的浏览器不支持PDF预览,请点击链接下载PDF文件