专利数据库
统计分析
产业报告
专利数据监控
产业人才
行业动态
产业政策法规
维权援助
个人中心
详情
文本
图像
标题
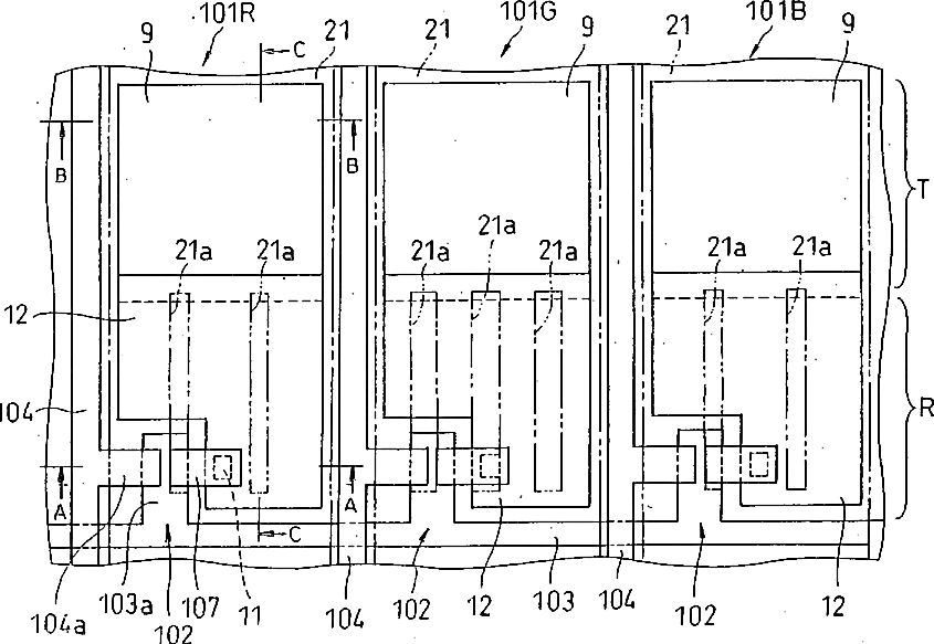
Color liquid crystal panel, method for manufacturing the same, and color liquid crystal display device employing the same
授权日
1900-01-01
公开(公告)号
US20070030422A1
申请日
2006-10-11
公开(公告)日
2007-02-08
当前申请(专利权)人
NEC CORPORATION | NEC LCD TECHNOLOGIES, LTD.
发明人
IKENO, HIDENORI | FUJIMAKI, ERIKO
简单同族
EP1251389A2 | EP1251389A3 | EP2348352A2 | EP2348352A3 | EP2793074A2 | EP2793074A3 | JP2002311423A | JP4583650B2 | KR100468440B1 | KR1020020081115A | NO20021771A | NO20021771D0 | NO20021771L | NO20140594A | NO20140594L | NO336130B1 | NO336608B1 | TW591297B | US20030053012A1 | US20050062909A1 | US20060256262A1 | US20070030422A1 | US20110014555A1 | US6897922 | US7142269 | US7839470 | US7916265
简单同族成员数量
27
简单同族被引用专利总数
70
诉讼案件数
0
法律状态/事件
撤回 | 权利转移
抱歉,您的浏览器不支持PDF预览,请点击链接下载PDF文件