专利数据库
统计分析
产业报告
专利数据监控
产业人才
行业动态
产业政策法规
维权援助
个人中心
详情
文本
图像
标题
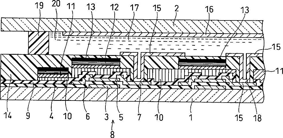
Color liquid crystal display panel
授权日
2002-09-03
公开(公告)号
US6445432
申请日
2001-01-18
公开(公告)日
2002-09-03
当前申请(专利权)人
NLT TECHNOLOGIES, LTD.
发明人
YAMAMOTO, YUJI | OKAMOTO, MAMORU | SAKAMOTO, MICHIAKI | WATANABE, TAKAHIKO | KIKKAWA, HIRONORI | MARUYAMA, MUNEO
简单同族
JP2001202033A | JP3471692B2 | KR100398424B1 | KR1020010076408A | TW472226B | US20010012079A1 | US6445432
简单同族成员数量
7
简单同族被引用专利总数
70
诉讼案件数
0
法律状态/事件
授权 | 权利转移
抱歉,您的浏览器不支持PDF预览,请点击链接下载PDF文件