专利数据库
统计分析
产业报告
专利数据监控
产业人才
行业动态
产业政策法规
维权援助
个人中心
详情
文本
图像
标题
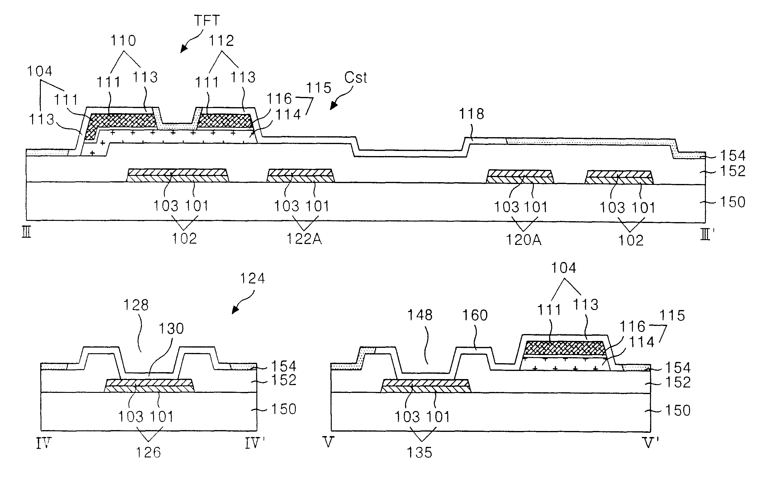
Liquid crystal display device comprising a protective film so that the protective film borders with one end of a transparent conductive pattern
授权日
2011-09-06
公开(公告)号
US8013969
申请日
2010-05-26
公开(公告)日
2011-09-06
当前申请(专利权)人
LG DISPLAY CO., LTD.
发明人
AHN, BYUNG CHUL | LIM, JOO SOO | PARK, BYUNG HO
简单同族
CN100444013C | CN1794078A | JP2006184861A | JP2010015173A | JP4468876B2 | KR101107245B1 | KR1020060073379A | US20060139504A1 | US20100231820A1 | US7751011 | US8013969
简单同族成员数量
11
简单同族被引用专利总数
50
诉讼案件数
0
法律状态/事件
授权 | 权利转移
抱歉,您的浏览器不支持PDF预览,请点击链接下载PDF文件