专利数据库
统计分析
产业报告
专利数据监控
产业人才
行业动态
产业政策法规
维权援助
个人中心
详情
文本
图像
标题
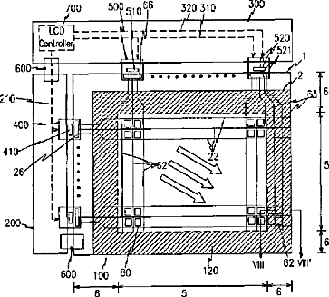
Liquid crystal display having additional signal lines to define additional pixel regions
授权日
2009-03-31
公开(公告)号
US7511793
申请日
2007-05-02
公开(公告)日
2009-03-31
当前申请(专利权)人
SAMSUNG DISPLAY CO., LTD.
发明人
CHUNG, WOO-SUK | KIM, CHI-WOO | AN, BO-YOUNG | LEE, HYONG-GON | CHO, SUNG-HEE
简单同族
CN1229669C | CN1397822A | JP2003043512A | JP4544809B2 | US20030016328A1 | US20050237466A1 | US20070229747A1 | US6927830 | US7218371 | US7511793
简单同族成员数量
10
简单同族被引用专利总数
75
诉讼案件数
0
法律状态/事件
授权 | 权利转移
抱歉,您的浏览器不支持PDF预览,请点击链接下载PDF文件