专利数据库
统计分析
产业报告
专利数据监控
产业人才
行业动态
产业政策法规
维权援助
个人中心
详情
文本
图像
标题
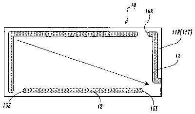
Liquid crystal cell, display device, and particular method of fabricating liquid crystal cell by dropping and capillary action
授权日
2006-05-02
公开(公告)号
US7038758
申请日
2003-12-12
公开(公告)日
2006-05-02
当前申请(专利权)人
AU OPTRONICS CORPORATION
发明人
SUZUKI, SHUNJI
简单同族
JP2002055351A | JP4542243B2 | TW575764B | US20020012094A1 | US20040125317A1 | US6678029 | US7038758
简单同族成员数量
7
简单同族被引用专利总数
86
诉讼案件数
0
法律状态/事件
授权 | 权利转移
抱歉,您的浏览器不支持PDF预览,请点击链接下载PDF文件