专利数据库
统计分析
产业报告
专利数据监控
产业人才
行业动态
产业政策法规
维权援助
个人中心
详情
文本
图像
标题
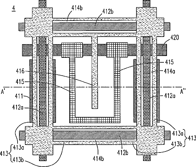
In-plane switching liquid crystal display
授权日
2008-10-28
公开(公告)号
US7443477
申请日
2005-09-06
公开(公告)日
2008-10-28
当前申请(专利权)人
HANNSTAR DISPLAY CORPORATION
发明人
LIN, JIUNN-SHYONG | SHIH, PO-SHENG | YANG, KEI-HSIUNG | LIAO, TAI-SHUN
简单同族
US20070052899A1 | US7443477
简单同族成员数量
2
简单同族被引用专利总数
69
诉讼案件数
0
法律状态/事件
授权 | 权利转移
抱歉,您的浏览器不支持PDF预览,请点击链接下载PDF文件