专利数据库
统计分析
产业报告
专利数据监控
产业人才
行业动态
产业政策法规
维权援助
个人中心
详情
文本
图像
标题
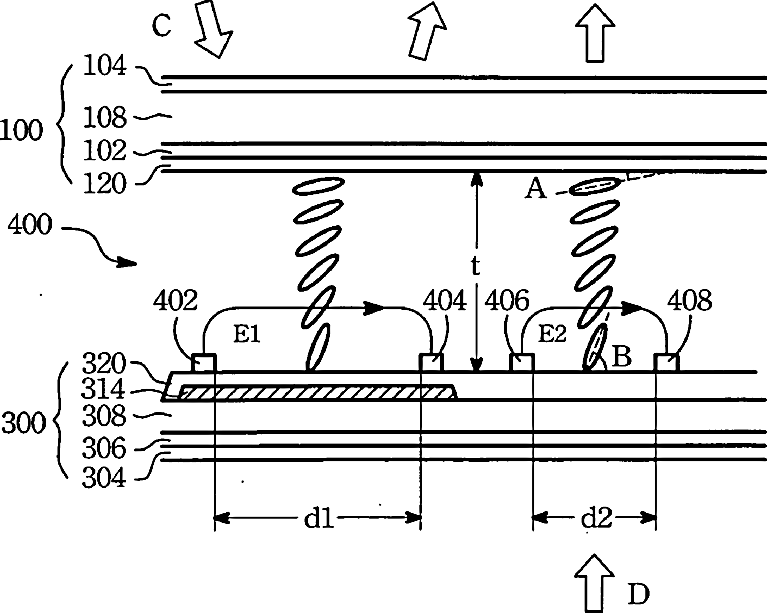
Pixel device of a transflective-type LCD panel
授权日
1900-01-01
公开(公告)号
US20050083462A1
申请日
2004-07-14
公开(公告)日
2005-04-21
当前申请(专利权)人
AU OPTRONICS CORP.
发明人
LIN, CHING-HUAN
简单同族
TW200515065A | TW594292B | US20050083462A1 | US7064802
简单同族成员数量
4
简单同族被引用专利总数
58
诉讼案件数
0
法律状态/事件
授权 | 权利转移
抱歉,您的浏览器不支持PDF预览,请点击链接下载PDF文件