专利数据库
统计分析
产业报告
专利数据监控
产业人才
行业动态
产业政策法规
维权援助
个人中心
详情
文本
图像
标题
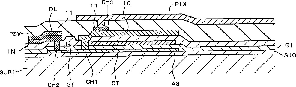
Liquid crystal display device
授权日
1900-01-01
公开(公告)号
US20020018152A1
申请日
2001-06-01
公开(公告)日
2002-02-14
当前申请(专利权)人
PANASONIC LIQUID CRYSTAL DISPLAY CO., LTD.
发明人
NAGATA, TETSUYA | MIYAZAWA, TOSHIO | SAITO, HIROSHI | KOMURA, SHINICHI
简单同族
JP2001343670A | JP2001343670A5 | JP4278834B2 | KR100547603B1 | KR1020010110165A | TW589499B | US20020018152A1 | US6657688
简单同族成员数量
8
简单同族被引用专利总数
94
诉讼案件数
0
法律状态/事件
授权 | 权利转移
抱歉,您的浏览器不支持PDF预览,请点击链接下载PDF文件