专利数据库
统计分析
产业报告
专利数据监控
产业人才
行业动态
产业政策法规
维权援助
个人中心
详情
文本
图像
标题
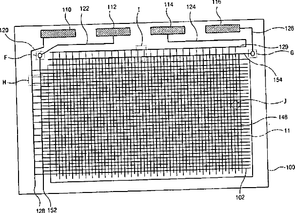
Array substrate for liquid crystal display device and method of manufacturing the same
授权日
2005-03-29
公开(公告)号
US6873392
申请日
2003-04-10
公开(公告)日
2005-03-29
当前申请(专利权)人
LG DISPLAY CO., LTD.
发明人
LIM, BYOUNG-HO
简单同族
CN100594409C | CN1453615A | DE10317628A1 | DE10317628B4 | FR2838531A1 | FR2838531B1 | GB0308207D0 | GB2387708A | GB2387708B | JP2003337349A | JP3672302B2 | KR100443539B1 | KR1020030082146A | TW200305765A | TWI230306B | US20030193623A1 | US20050200768A1 | US6873392 | US7268838
简单同族成员数量
19
简单同族被引用专利总数
53
诉讼案件数
0
法律状态/事件
授权 | 权利转移
抱歉,您的浏览器不支持PDF预览,请点击链接下载PDF文件