专利数据库
统计分析
产业报告
专利数据监控
产业人才
行业动态
产业政策法规
维权援助
个人中心
详情
文本
图像
标题
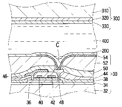
Array substrate, liquid crystal display device and their manufacturing method
授权日
2001-06-26
公开(公告)号
US6252297
申请日
2000-05-08
公开(公告)日
2001-06-26
当前申请(专利权)人
JAPAN DISPLAY CENTRAL INC.
发明人
KEMMOCHI, MASATO | SHOJI, MASATO
简单同族
KR100341227B1 | KR100344206B1 | KR1019980080203A | TW477907B | US6136624 | US6252297
简单同族成员数量
6
简单同族被引用专利总数
147
诉讼案件数
0
法律状态/事件
期限届满 | 权利转移
抱歉,您的浏览器不支持PDF预览,请点击链接下载PDF文件