专利数据库
统计分析
产业报告
专利数据监控
产业人才
行业动态
产业政策法规
维权援助
个人中心
详情
文本
图像
标题
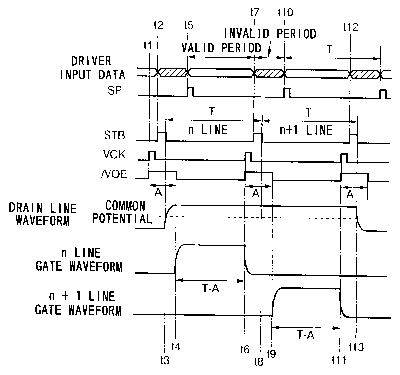
Liquid crystal display
授权日
2004-04-27
公开(公告)号
US6727878
申请日
2001-01-31
公开(公告)日
2004-04-27
当前申请(专利权)人
NLT TECHNOLOGIES, LTD.
发明人
OKUZONO, NOBORU | KOGA, KOICHI
简单同族
JP2001215469A | JP3428550B2 | KR100393150B1 | KR1020010078316A | TW574516B | US20010043178A1 | US20040150604A1 | US20040150612A1 | US6727878 | US6911967 | US6982693
简单同族成员数量
11
简单同族被引用专利总数
147
诉讼案件数
0
法律状态/事件
授权 | 权利转移
抱歉,您的浏览器不支持PDF预览,请点击链接下载PDF文件