专利数据库
统计分析
产业报告
专利数据监控
产业人才
行业动态
产业政策法规
维权援助
个人中心
详情
文本
图像
标题
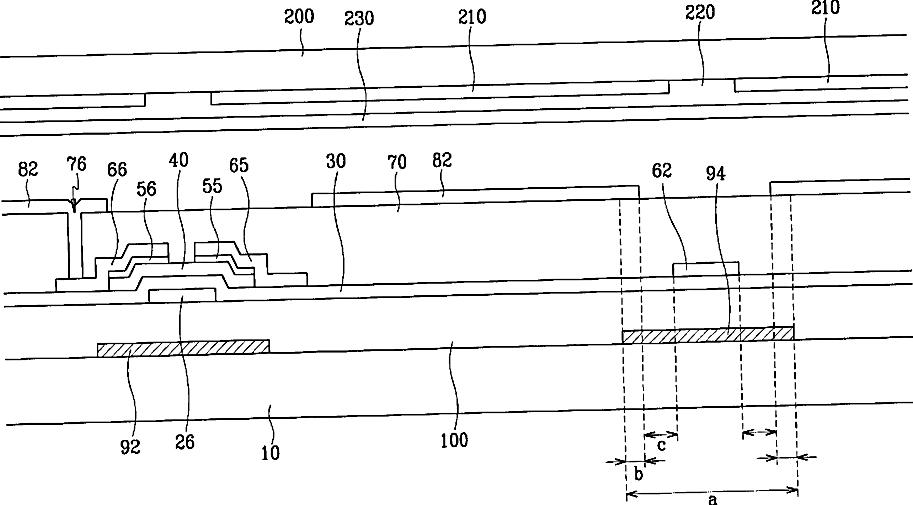
Thin film transistor substrate for a liquid crystal display and a method for repairing the substrate
授权日
1900-01-01
公开(公告)号
US20010046003A1
申请日
2001-05-23
公开(公告)日
2001-11-29
当前申请(专利权)人
SAMSUNG DISPLAY CO., LTD.
发明人
SONG, JANG-KUN
简单同族
JP2001337349A | JP4733844B2 | KR100623989B1 | KR1020010106849A | US20010046003A1 | US20050030441A1 | US20070002202A1 | US20070008447A1 | US20090087933A1 | US6788356 | US7106391 | US7342621 | US7515218 | US7929069
简单同族成员数量
14
简单同族被引用专利总数
173
诉讼案件数
0
法律状态/事件
授权 | 权利转移
抱歉,您的浏览器不支持PDF预览,请点击链接下载PDF文件