专利数据库
统计分析
产业报告
专利数据监控
产业人才
行业动态
产业政策法规
维权援助
个人中心
详情
文本
图像
标题
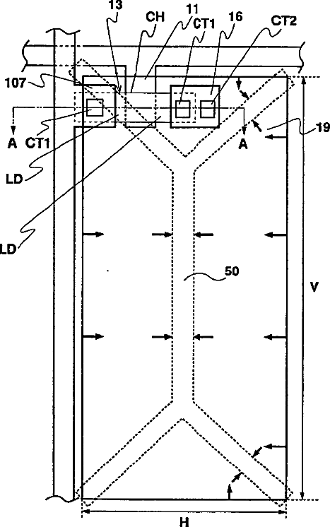
Liquid crystal display including a vertically aligned liquid crystal layer disposed between pixel electrodes and a common electrode
授权日
1900-01-01
公开(公告)号
US20010004277A1
申请日
2001-01-23
公开(公告)日
2001-06-21
当前申请(专利权)人
SANYO ELECTRIC CO., LTD.
发明人
KOMA, NORIO
简单同族
JP1999109355A | JP3398025B2 | KR100372665B1 | KR1019990036740A | US20010004277A1 | US20090153789A1 | US20110199567A1 | US20130038828A1 | US6229589 | US6407794 | US7952669 | US8300191 | US9097941
简单同族成员数量
13
简单同族被引用专利总数
143
诉讼案件数
0
法律状态/事件
期限届满 | 权利转移
抱歉,您的浏览器不支持PDF预览,请点击链接下载PDF文件