专利数据库
统计分析
产业报告
专利数据监控
产业人才
行业动态
产业政策法规
维权援助
个人中心
详情
文本
图像
标题
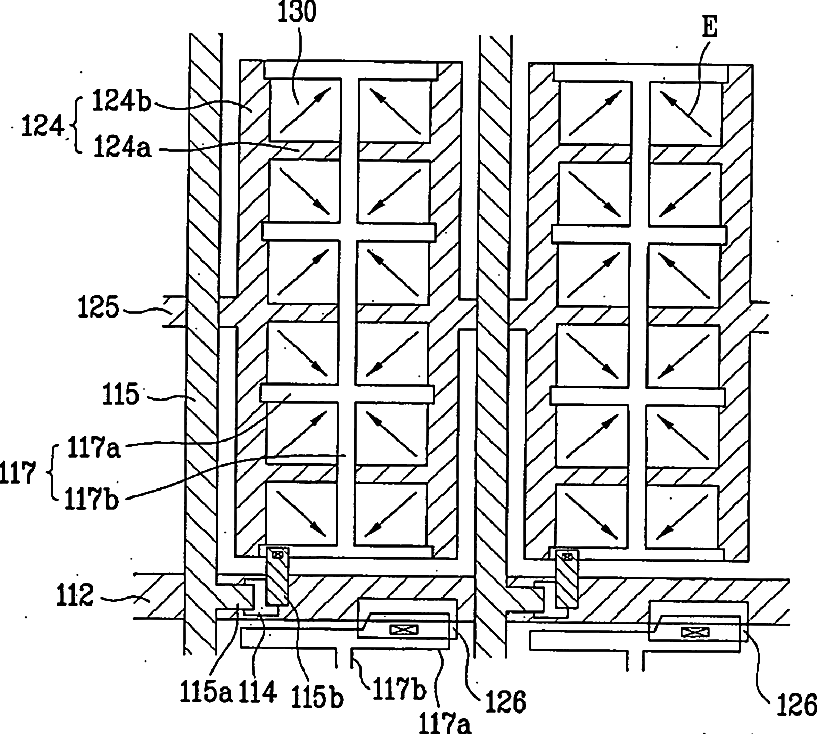
In-plane switching mode liquid crystal display device and method for manufacturing the same
授权日
1900-01-01
公开(公告)号
US20050206824A1
申请日
2005-03-16
公开(公告)日
2005-09-22
当前申请(专利权)人
LG DISPLAY CO., LTD.
发明人
SON, HYEON HO | LEE, WON HO
简单同族
KR100617040B1 | KR1020050092544A | US20050206824A1 | US20090148974A1 | US7502086 | US7773183
简单同族成员数量
6
简单同族被引用专利总数
123
诉讼案件数
0
法律状态/事件
授权 | 权利转移
抱歉,您的浏览器不支持PDF预览,请点击链接下载PDF文件