专利数据库
统计分析
产业报告
专利数据监控
产业人才
行业动态
产业政策法规
维权援助
个人中心
详情
文本
图像
标题
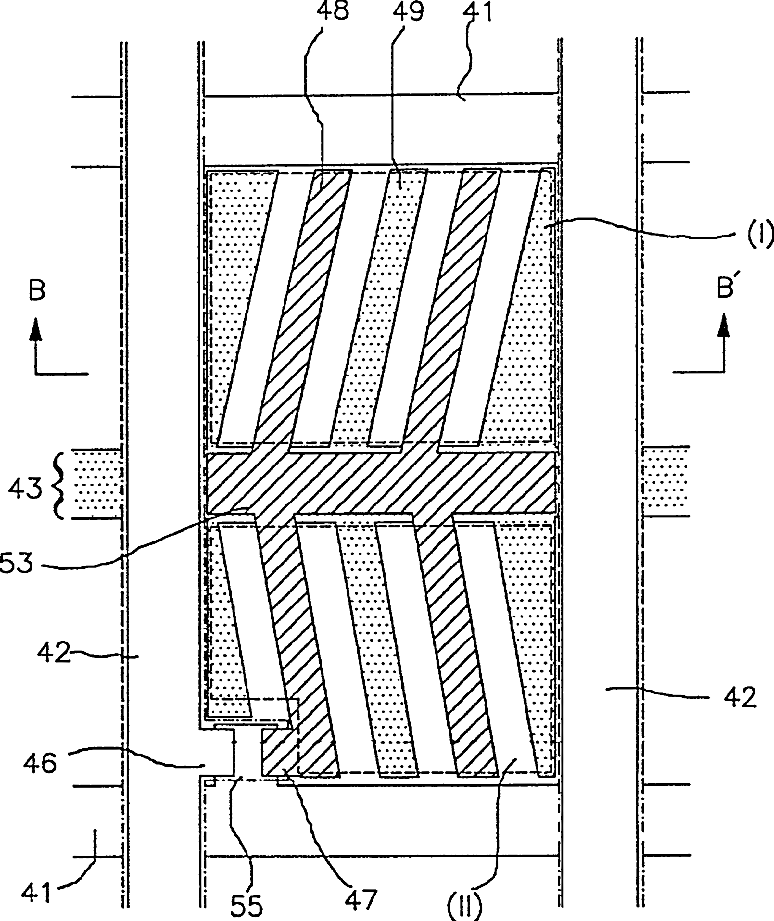
Liquid crystal display device
授权日
1900-01-01
公开(公告)号
US20010001568A1
申请日
2001-01-24
公开(公告)日
2001-05-24
当前申请(专利权)人
LG DISPLAY CO., LTD.
发明人
HIROSHI, KOMATSU
简单同族
KR100209531B1 | KR1019980003742A | US20010001568A1 | US20010010574A1 | US20030030761A1 | US20050078255A1 | US6342937 | US6608662 | US6630978 | US6778245 | US7193675
简单同族成员数量
11
简单同族被引用专利总数
88
诉讼案件数
0
法律状态/事件
期限届满 | 权利转移
抱歉,您的浏览器不支持PDF预览,请点击链接下载PDF文件