专利数据库
统计分析
产业报告
专利数据监控
产业人才
行业动态
产业政策法规
维权援助
个人中心
详情
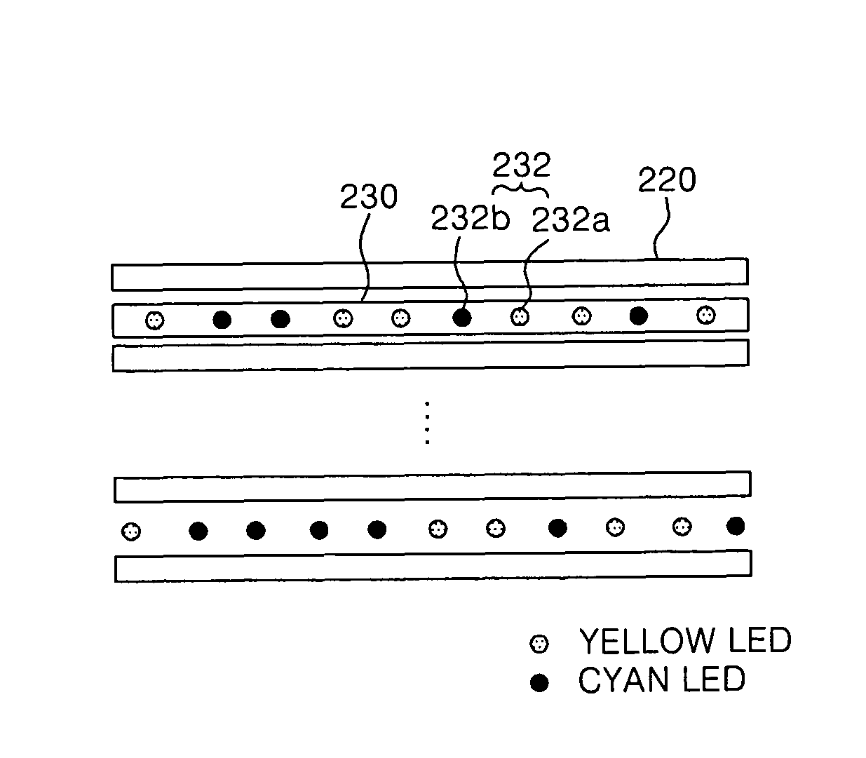
文本
图像
标题
Liquid crystal display module and driving apparatus thereof
授权日
2012-10-16
公开(公告)号
US8289472
申请日
2004-06-14
公开(公告)日
2012-10-16
当前申请(专利权)人
LG DISPLAY CO., LTD.
发明人
CHUNG, IN JAE | CHAE, GEE SUNG
简单同族
KR101001040B1 | KR1020050002430A | US20040264212A1 | US20130038643A1 | US8289472
简单同族成员数量
5
简单同族被引用专利总数
132
诉讼案件数
0
法律状态/事件
授权 | 权利转移
抱歉,您的浏览器不支持PDF预览,请点击链接下载PDF文件