专利数据库
统计分析
产业报告
专利数据监控
产业人才
行业动态
产业政策法规
维权援助
个人中心
详情
文本
图像
标题
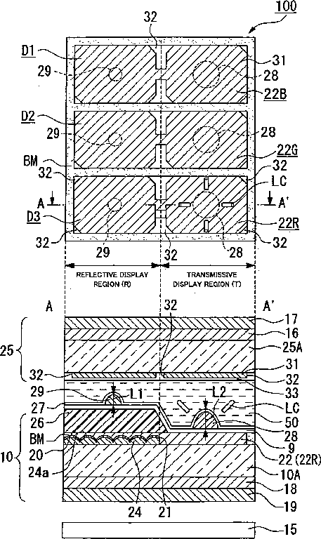
Liquid crystal display device, method of manufacturing the same, and electronic apparatus
授权日
1900-01-01
公开(公告)号
US20050001962A1
申请日
2004-05-17
公开(公告)日
2005-01-06
当前申请(专利权)人
SEIKO EPSON CORPORATION
发明人
MAEDA, TSUYOSHI
简单同族
CN1573430A | CN1573430B | DE602004001420D1 | DE602004001420T2 | EP1484633A1 | EP1484633B1 | JP2004361823A | JP3778179B2 | KR100637968B1 | KR1020040105573A | TW200428071A | TWI286628B | US20050001962A1 | US7139052
简单同族成员数量
14
简单同族被引用专利总数
81
诉讼案件数
0
法律状态/事件
授权 | 权利转移
抱歉,您的浏览器不支持PDF预览,请点击链接下载PDF文件