专利数据库
统计分析
产业报告
专利数据监控
产业人才
行业动态
产业政策法规
维权援助
个人中心
详情
文本
图像
标题
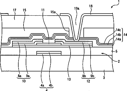
Substrate for liquid crystal display and liquid crystal display utilizing the same
授权日
2006-03-14
公开(公告)号
US7012658
申请日
2004-01-28
公开(公告)日
2006-03-14
当前申请(专利权)人
UNIFIED INNOVATIVE TECHNOLOGY, LLC
发明人
SAWASAKI, MANABU | TANOSE, TOMONORI | MISAKI, KATSUNORI
简单同族
CN100458516C | CN1288490C | CN1534362A | CN1955804A | JP2004318063A | JP2009276788A | JP4417072B2 | JP5101580B2 | KR100814183B1 | KR1020040084720A | TW200424727A | TWI249643B | US20040246424A1 | US20060114393A1 | US7012658 | US7268842
简单同族成员数量
16
简单同族被引用专利总数
138
诉讼案件数
0
法律状态/事件
授权 | 权利转移
抱歉,您的浏览器不支持PDF预览,请点击链接下载PDF文件