专利数据库
统计分析
产业报告
专利数据监控
产业人才
行业动态
产业政策法规
维权援助
个人中心
详情
文本
图像
标题
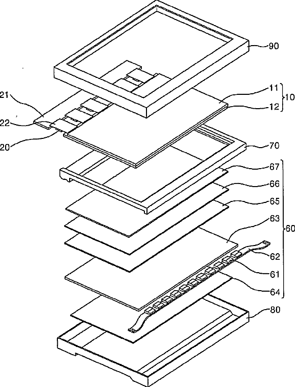
Dc-dc converter, liquid crystal display device, aging test apparatus of liquid crystal display device, and method thereof
授权日
1900-01-01
公开(公告)号
US20080088550A1
申请日
2007-08-09
公开(公告)日
2008-04-17
当前申请(专利权)人
SAMSUNG DISPLAY CO., LTD.
发明人
KIM, DAE SEOP | JUNG, SEOK-HYUN | CHOI, JAE JIN
简单同族
CN101183831A | CN101183831B | KR101215513B1 | KR1020080034602A | US20080088550A1 | US8451256
简单同族成员数量
6
简单同族被引用专利总数
54
诉讼案件数
0
法律状态/事件
未缴年费 | 权利转移
抱歉,您的浏览器不支持PDF预览,请点击链接下载PDF文件