专利数据库
统计分析
产业报告
专利数据监控
产业人才
行业动态
产业政策法规
维权援助
个人中心
详情
文本
图像
标题
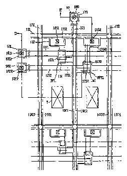
Thin film transistor array panel for liquid crystal display
授权日
2008-07-22
公开(公告)号
US7403239
申请日
2005-07-08
公开(公告)日
2008-07-22
当前申请(专利权)人
SAMSUNG DISPLAY CO., LTD.
发明人
KIM, DONG-GYU
简单同族
AU2002367982A1 | CN100416388C | CN1555506A | JP2005527857A | KR100848099B1 | KR1020030091357A | US20030218178A1 | US20040173797A1 | US20050242351A1 | US20090004787A1 | US6710372 | US6969872 | US7403239 | WO2003100512A1
简单同族成员数量
14
简单同族被引用专利总数
171
诉讼案件数
0
法律状态/事件
未缴年费 | 权利转移
抱歉,您的浏览器不支持PDF预览,请点击链接下载PDF文件