专利数据库
统计分析
产业报告
专利数据监控
产业人才
行业动态
产业政策法规
维权援助
个人中心
详情
文本
图像
标题
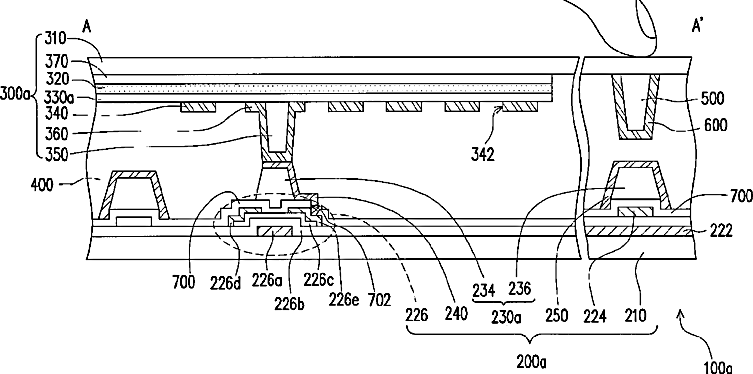
Liquid crystal display panel comprising first connecting electrodes disposed on a padding device and electrically connected to active devices and to second connecting electrodes
授权日
2013-04-16
公开(公告)号
US8421978
申请日
2010-11-02
公开(公告)日
2013-04-16
当前申请(专利权)人
WINTEK CORPORATION
发明人
WANG, WEN-CHUN | YU, MING-CHANG | CHANG, YUNG-CHENG | CHANG, TING-YU | TSAI, WAN-JEN
简单同族
TW201116889A | TWI408449B | US20110102698A1 | US8421978
简单同族成员数量
4
简单同族被引用专利总数
54
诉讼案件数
0
法律状态/事件
授权 | 权利转移
抱歉,您的浏览器不支持PDF预览,请点击链接下载PDF文件