专利数据库
统计分析
产业报告
专利数据监控
产业人才
行业动态
产业政策法规
维权援助
个人中心
详情
文本
图像
标题
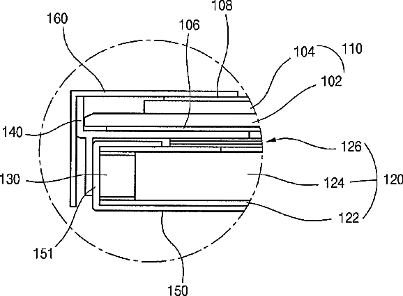
Liquid crystal display module having liquid crystal panel and backlight unit and printed circuit board on rear frame
授权日
2011-08-02
公开(公告)号
US7990512
申请日
2009-08-27
公开(公告)日
2011-08-02
当前申请(专利权)人
LG DISPLAY CO., LTD.
发明人
YANG, SEUNG-HOON
简单同族
KR101189135B1 | KR1020070056346A | US20070121023A1 | US20090316104A1 | US7599020 | US7990512
简单同族成员数量
6
简单同族被引用专利总数
75
诉讼案件数
0
法律状态/事件
授权
抱歉,您的浏览器不支持PDF预览,请点击链接下载PDF文件