专利数据库
统计分析
产业报告
专利数据监控
产业人才
行业动态
产业政策法规
维权援助
个人中心
详情
文本
图像
标题
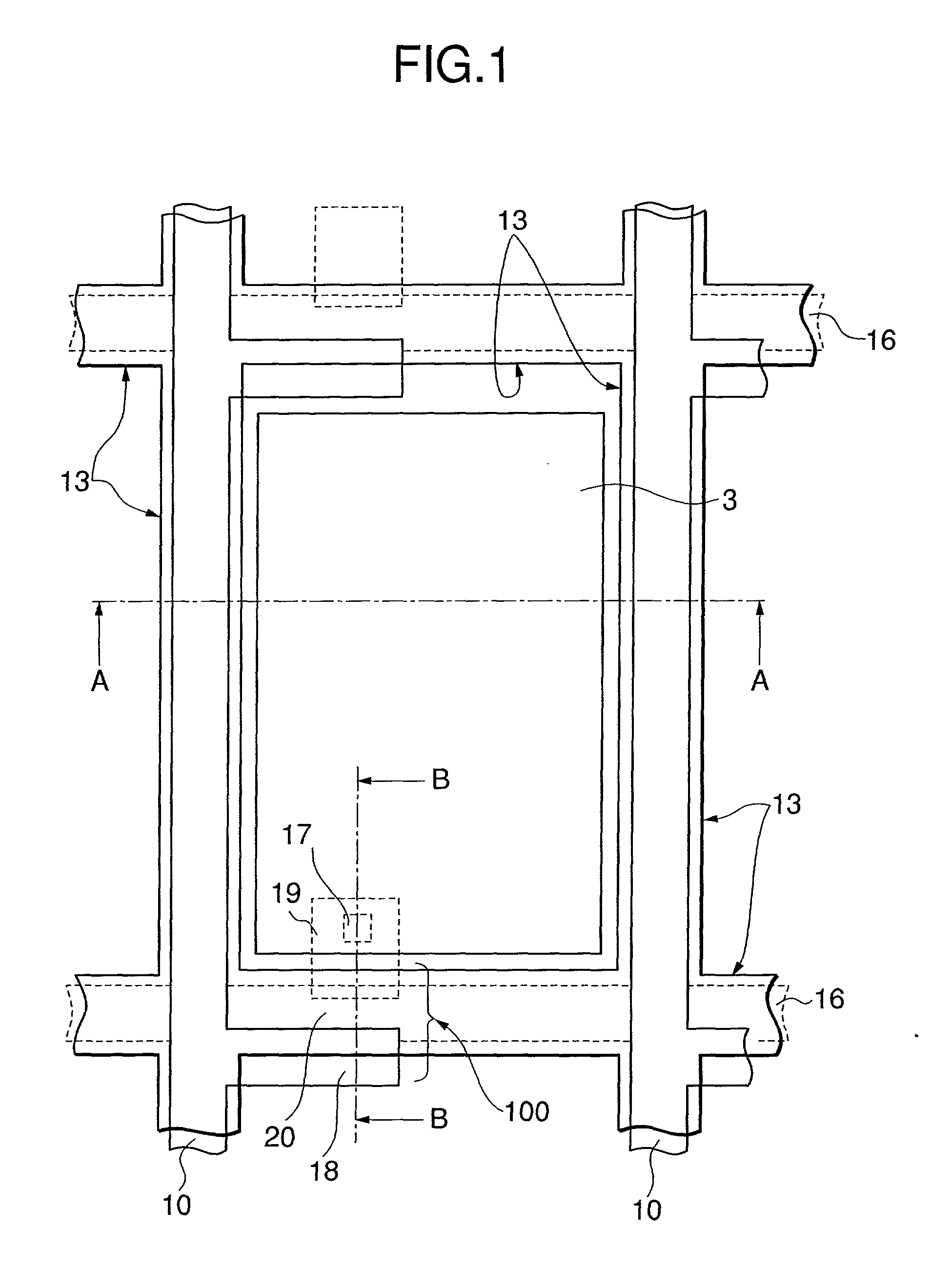
Orientation division type liquid crystal display, fabrication method thereof and image display method
授权日
1900-01-01
公开(公告)号
US20010006408A1
申请日
2000-12-20
公开(公告)日
2001-07-05
当前申请(专利权)人
GOLD CHARM LIMITED
发明人
MATSUYAMA, HIROAKI | KAWADA, KIYOMI | SUZUKI, SEIJI | HIRAI, YOSHIHIKO | SAKAMOTO, MICHIAKI | OKAMOTO, MAMORU | YAMAMOTO, YUJI | ISHII, TOSHIYA | SUZUKI, TERUAKI | SUMIYOSHI, KEN | SUZUKI, MASAYOSHI
简单同族
JP2001174824A | KR100435819B1 | KR1020010067475A | TWI273315B | US20010006408A1 | US20040218128A1 | US6768530 | US6927822
简单同族成员数量
8
简单同族被引用专利总数
89
诉讼案件数
0
法律状态/事件
授权 | 权利转移
抱歉,您的浏览器不支持PDF预览,请点击链接下载PDF文件