专利数据库
统计分析
产业报告
专利数据监控
产业人才
行业动态
产业政策法规
维权援助
个人中心
详情
文本
图像
标题
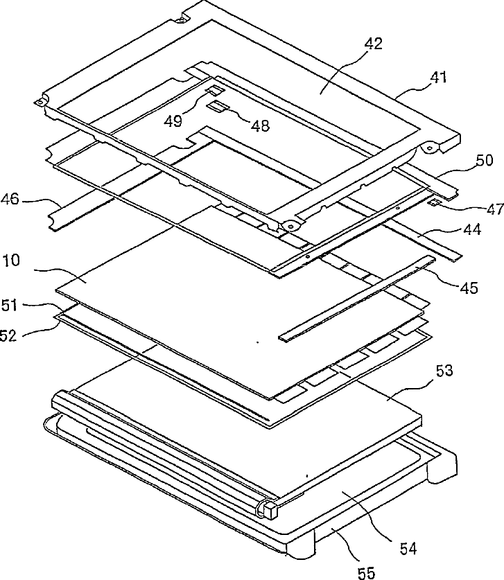
Liquid crystal cell, display device, and method of fabricating liquid crystal cell
授权日
1900-01-01
公开(公告)号
US20020012094A1
申请日
2001-07-17
公开(公告)日
2002-01-31
当前申请(专利权)人
AU OPTRONICS CORPORATION
发明人
SUZUKI, SHUNJI
简单同族
JP2002055351A | JP4542243B2 | TW575764B | US20020012094A1 | US20040125317A1 | US6678029 | US7038758
简单同族成员数量
7
简单同族被引用专利总数
86
诉讼案件数
0
法律状态/事件
授权 | 权利转移
抱歉,您的浏览器不支持PDF预览,请点击链接下载PDF文件