专利数据库
统计分析
产业报告
专利数据监控
产业人才
行业动态
产业政策法规
维权援助
个人中心
详情
文本
图像
标题
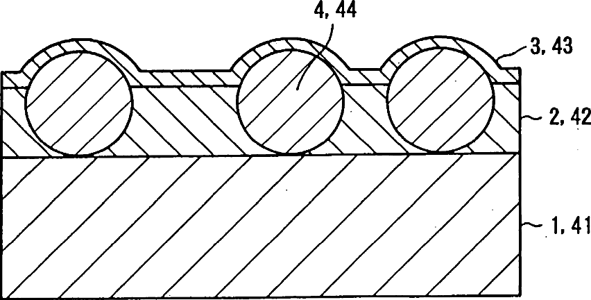
Optical films having matt property, films having a high transmittance, polarizing plates and liquid crystal display devices
授权日
1900-01-01
公开(公告)号
US20030194533A1
申请日
2003-03-03
公开(公告)日
2003-10-16
当前申请(专利权)人
FUJIFILM CORPORATION
发明人
AMIMORI, ICHIRO | WATANABE, HIDETOSHI | WATANABE, JUN | INOUE, HIROSHI
简单同族
US20030194533A1 | US6559915 | US6977696
简单同族成员数量
3
简单同族被引用专利总数
84
诉讼案件数
0
法律状态/事件
未缴年费 | 权利转移
抱歉,您的浏览器不支持PDF预览,请点击链接下载PDF文件