专利数据库
统计分析
产业报告
专利数据监控
产业人才
行业动态
产业政策法规
维权援助
个人中心
详情
文本
图像
标题
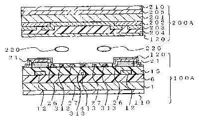
Liquid crystal display device and method of fabricating the same
授权日
2008-04-08
公开(公告)号
US7355670
申请日
2006-09-13
公开(公告)日
2008-04-08
当前申请(专利权)人
GOLD CHARM LIMITED
发明人
KITAGAWA, YOSHIRO | KIMURA, SATOSHI | SATOH, TSUYOSHI | KUSANAGI, HIDENORI | FUNAKI, JUKO | TAKAHASHI, SOUNOSUKE | KONNO, TAKAYUKI | NISHIDA, SHINICHI
简单同族
CN100405188C | CN1532617A | JP2004302448A | JP4720970B2 | KR100602759B1 | KR1020040082975A | TW200500761A | TWI263855B | US20040183977A1 | US20070026556A1 | US20080212013A1 | US7142274 | US7355670 | US7557899
简单同族成员数量
14
简单同族被引用专利总数
124
诉讼案件数
0
法律状态/事件
授权 | 权利转移
抱歉,您的浏览器不支持PDF预览,请点击链接下载PDF文件