专利数据库
统计分析
产业报告
专利数据监控
产业人才
行业动态
产业政策法规
维权援助
个人中心
详情
文本
图像
标题
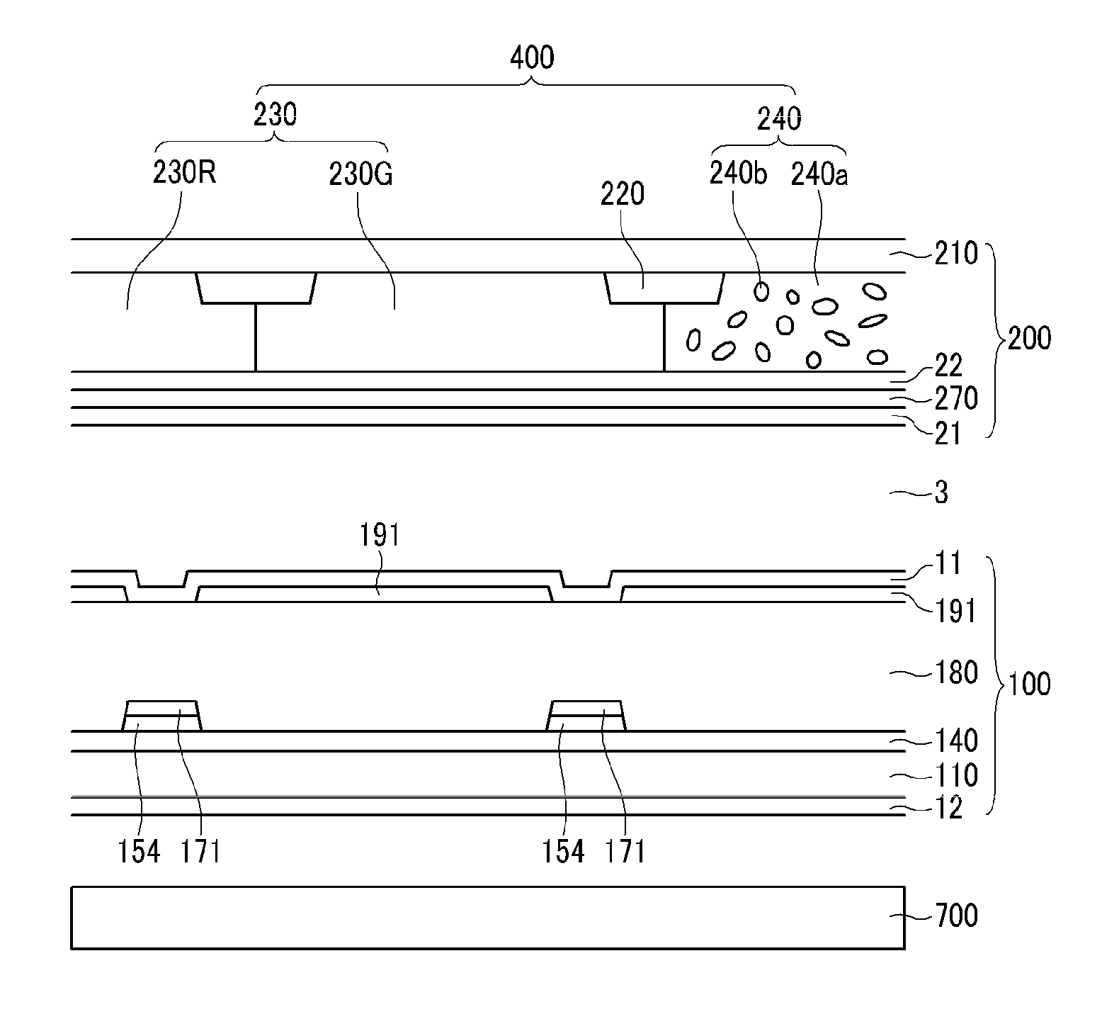
Liquid crystal display having light diffusion layer
授权日
2012-10-23
公开(公告)号
US8294848
申请日
2009-08-17
公开(公告)日
2012-10-23
当前申请(专利权)人
SAMSUNG DISPLAY CO., LTD.
发明人
CHO, DON-CHAN | PARK, JAE-BYUNG | BYUN, JIN-SEOB | PARK, HAE-IL
简单同族
US20100079704A1 | US8294848
简单同族成员数量
2
简单同族被引用专利总数
84
诉讼案件数
0
法律状态/事件
授权 | 权利转移
抱歉,您的浏览器不支持PDF预览,请点击链接下载PDF文件