专利数据库
统计分析
产业报告
专利数据监控
产业人才
行业动态
产业政策法规
维权援助
个人中心
详情
文本
图像
标题
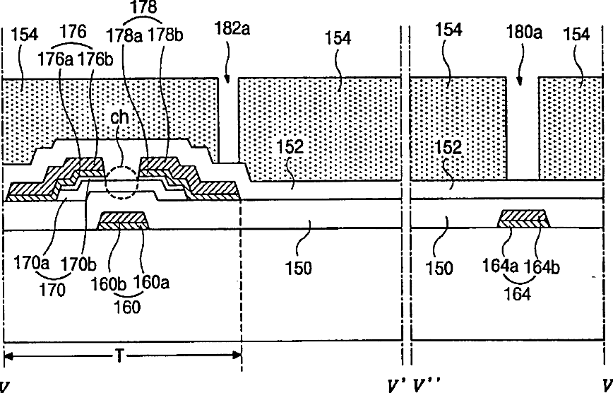
Array substrate for a liquid crystal display device having an improved contact property and fabricating method thereof
授权日
1900-01-01
公开(公告)号
US20030127649A1
申请日
2002-12-16
公开(公告)日
2003-07-10
当前申请(专利权)人
LG DISPLAY CO., LTD.
发明人
CHAE, GEE SUNG
简单同族
KR100412619B1 | KR1020030056254A | US20030127649A1 | US20050041170A1 | US6861368 | US7061020
简单同族成员数量
6
简单同族被引用专利总数
139
诉讼案件数
0
法律状态/事件
授权 | 权利转移
抱歉,您的浏览器不支持PDF预览,请点击链接下载PDF文件