专利数据库
统计分析
产业报告
专利数据监控
产业人才
行业动态
产业政策法规
维权援助
个人中心
详情
文本
图像
标题
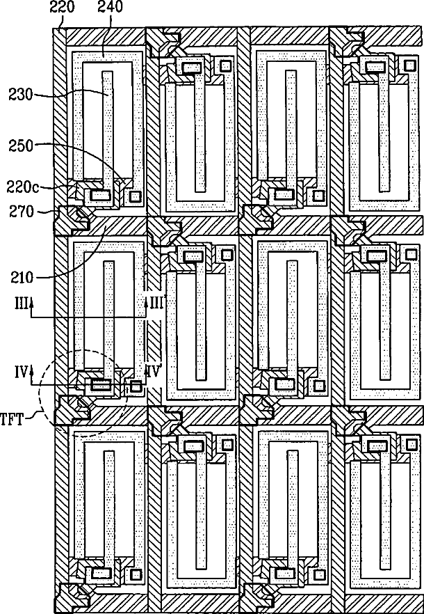
In-plane switching mode liquid crystal display device
授权日
1900-01-01
公开(公告)号
US20040085503A1
申请日
2003-10-29
公开(公告)日
2004-05-06
当前申请(专利权)人
LG DISPLAY CO., LTD.
发明人
KIM, KYONG SEOK | KIM, YOUNG WUG
简单同族
US20040085503A1 | US7602465
简单同族成员数量
2
简单同族被引用专利总数
78
诉讼案件数
0
法律状态/事件
授权 | 权利转移
抱歉,您的浏览器不支持PDF预览,请点击链接下载PDF文件