专利数据库
统计分析
产业报告
专利数据监控
产业人才
行业动态
产业政策法规
维权援助
个人中心
详情
文本
图像
标题
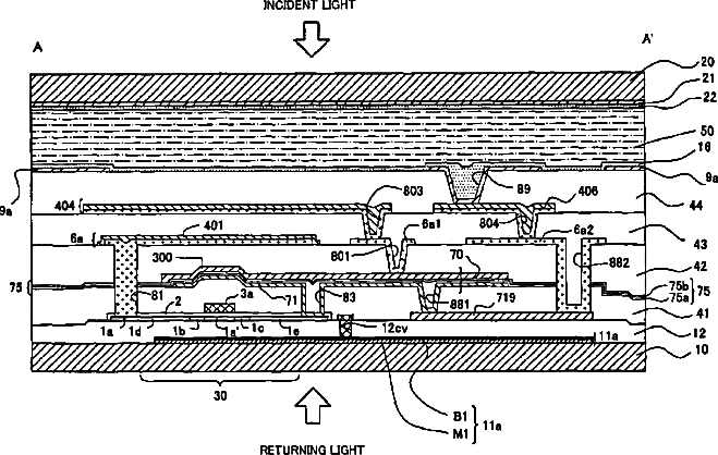
Liquid crystal display with capacitive light shield between data line and pixel electrode
授权日
2007-09-11
公开(公告)号
US7268843
申请日
2003-10-28
公开(公告)日
2007-09-11
当前申请(专利权)人
138 EAST LCD ADVANCEMENTS LIMITED
发明人
KAWATA, HIDENORI | TSUNEKAWA, YOSHIFUMI | HAYASHI, TOMOHIKO
简单同族
CN1262977C | CN1499459A | JP2004170911A | JP3870941B2 | KR100566170B1 | KR1020040038842A | TW200424977A | TWI226028B | US20040141130A1 | US20050199889A1 | US7161193 | US7268843
简单同族成员数量
12
简单同族被引用专利总数
64
诉讼案件数
0
法律状态/事件
授权 | 权利转移
抱歉,您的浏览器不支持PDF预览,请点击链接下载PDF文件