专利数据库
统计分析
产业报告
专利数据监控
产业人才
行业动态
产业政策法规
维权援助
个人中心
详情
文本
图像
标题
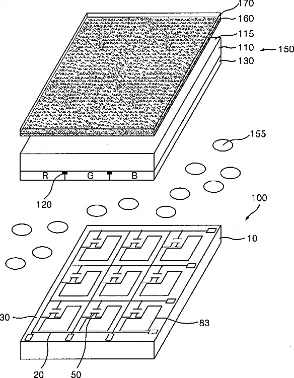
Liquid crystal display panel and method of manufacturing the same
授权日
1900-01-01
公开(公告)号
US20090051842A1
申请日
2008-08-21
公开(公告)日
2009-02-26
当前申请(专利权)人
SAMSUNG DISPLAY CO., LTD.
发明人
KIM, JONG-SEONG | LEE, SEONG-JUN | LEE, WOO-JAE | SARANNEERJA,
简单同族
KR101340052B1 | KR1020090020772A | US20090051842A1 | US8164698
简单同族成员数量
4
简单同族被引用专利总数
60
诉讼案件数
0
法律状态/事件
授权 | 权利转移
抱歉,您的浏览器不支持PDF预览,请点击链接下载PDF文件