专利数据库
统计分析
产业报告
专利数据监控
产业人才
行业动态
产业政策法规
维权援助
个人中心
详情
文本
图像
标题
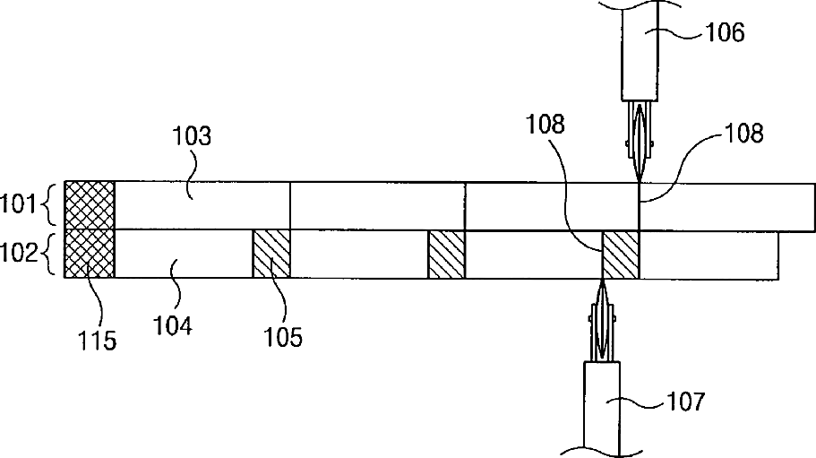
Method for cutting liquid crystal display panel
授权日
1900-01-01
公开(公告)号
US20030155391A1
申请日
2002-09-27
公开(公告)日
2003-08-21
当前申请(专利权)人
LG DISPLAY CO., LTD.
发明人
CHAE, KYUNG-SU | SHIN, SANG-SUN
简单同族
CN1310081C | CN1439926A | JP2003241173A | KR100789455B1 | KR1020030069483A | US20030155391A1 | US6741320
简单同族成员数量
7
简单同族被引用专利总数
61
诉讼案件数
0
法律状态/事件
授权 | 权利转移
抱歉,您的浏览器不支持PDF预览,请点击链接下载PDF文件