专利数据库
统计分析
产业报告
专利数据监控
产业人才
行业动态
产业政策法规
维权援助
个人中心
详情
文本
图像
标题
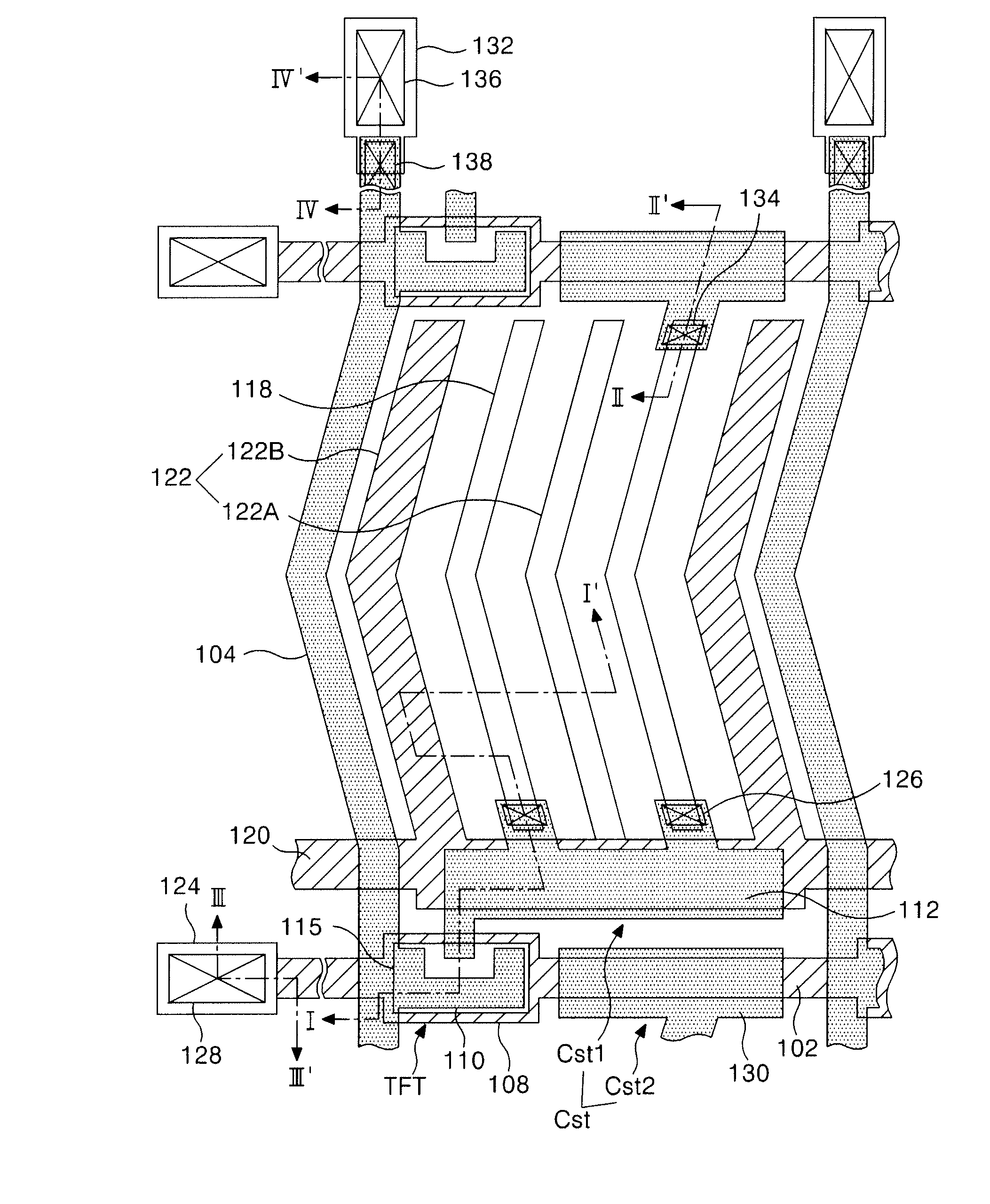
Liquid crystal display and fabricating method thereof
授权日
1900-01-01
公开(公告)号
US20100225869A1
申请日
2010-05-21
公开(公告)日
2010-09-09
当前申请(专利权)人
LG DISPLAY CO., LTD.
发明人
AHN, BYUNG CHUL | YOO, SOON SUNG | KWON, OH NAM | CHANG, YOUN GYOUNG | CHO, HEUNG LYUL | NAM, SEUNG HEE
简单同族
CN100440017C | CN1892385A | JP2007011343A | JP4772599B2 | KR101201017B1 | KR1020070000317A | US20060290867A1 | US20100225869A1 | US7751021 | US7889304
简单同族成员数量
10
简单同族被引用专利总数
108
诉讼案件数
0
法律状态/事件
授权 | 权利转移
抱歉,您的浏览器不支持PDF预览,请点击链接下载PDF文件