专利数据库
统计分析
产业报告
专利数据监控
产业人才
行业动态
产业政策法规
维权援助
个人中心
详情
文本
图像
标题
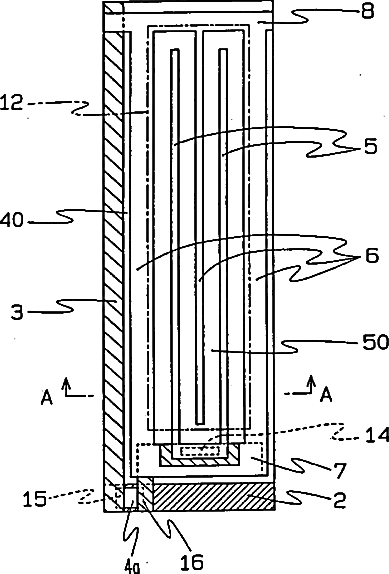
In plane switching liquid crystal displaying apparatus for improved luminance
授权日
1900-01-01
公开(公告)号
US20050151914A1
申请日
2005-01-04
公开(公告)日
2005-07-14
当前申请(专利权)人
MITSUBISHI DENKI KABUSHIKI KAISHA
发明人
NIWANO, YASUNORI | MASUTANI, YUICHI | NAKASHIMA, KEN | OODOI, YUUZOU | KOBAYASHI, KAZUHIRO
简单同族
JP1999119237A | JP4130490B2 | KR100326906B1 | KR1019990036533A | TW200305045A | TW565734B | TWI232341B | US20010046017A1 | US20020186338A1 | US20040119928A1 | US20050151914A1 | US6452656 | US6686986 | US6864939 | US7362401
简单同族成员数量
15
简单同族被引用专利总数
182
诉讼案件数
0
法律状态/事件
未缴年费
抱歉,您的浏览器不支持PDF预览,请点击链接下载PDF文件