专利数据库
统计分析
产业报告
专利数据监控
产业人才
行业动态
产业政策法规
维权援助
个人中心
详情
文本
图像
标题
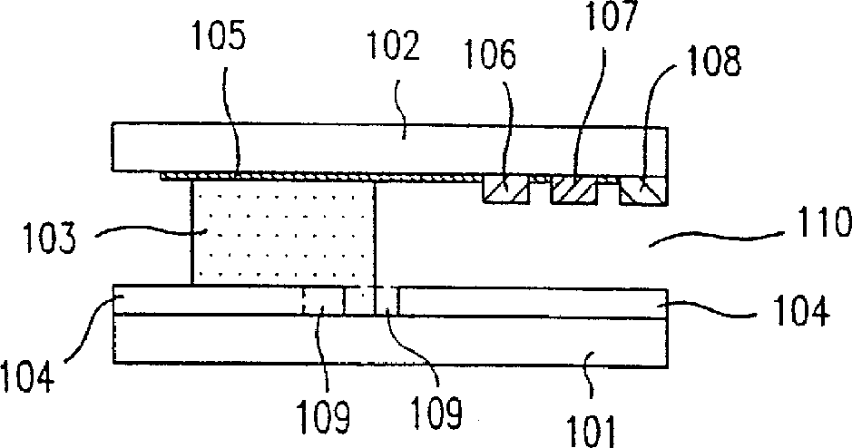
Liquid crystal display device and process for producing the same
授权日
1900-01-01
公开(公告)号
US20020163615A1
申请日
2002-04-18
公开(公告)日
2002-11-07
当前申请(专利权)人
SHARP KABUSHIKI KAISHA
发明人
FUJIOKA, KAZUYOSHI | NARUTAKI, YOZO | NAGATA, HISASHI | MIYAMOTO, KAZUSHIGE | SHIMADA, TAKAYUKI
简单同族
KR100261643B1 | KR1019980064264A | TW542933B | US20020163615A1 | US20050012888A1 | US6124917 | US6400439 | US6850308 | US6943863
简单同族成员数量
9
简单同族被引用专利总数
200
诉讼案件数
0
法律状态/事件
期限届满
抱歉,您的浏览器不支持PDF预览,请点击链接下载PDF文件