专利数据库
统计分析
产业报告
专利数据监控
产业人才
行业动态
产业政策法规
维权援助
个人中心
详情
文本
图像
标题
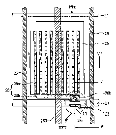
Fringe field switching liquid crystal display and method for manufacturing the same
授权日
2007-11-06
公开(公告)号
US7292302
申请日
2003-01-10
公开(公告)日
2007-11-06
当前申请(专利权)人
BOE-HYDIS TECHNOLOGY CO., LTD.
发明人
MIN, TAE YOP | YI, SEUNG JUN | LEE, HEE GYU
简单同族
JP2001056476A | JP3740513B2 | KR100507271B1 | KR1020010004913A | US20030098939A1 | US7292302
简单同族成员数量
6
简单同族被引用专利总数
98
诉讼案件数
0
法律状态/事件
期限届满 | 权利转移
抱歉,您的浏览器不支持PDF预览,请点击链接下载PDF文件