专利数据库
统计分析
产业报告
专利数据监控
产业人才
行业动态
产业政策法规
维权援助
个人中心
详情
文本
图像
标题
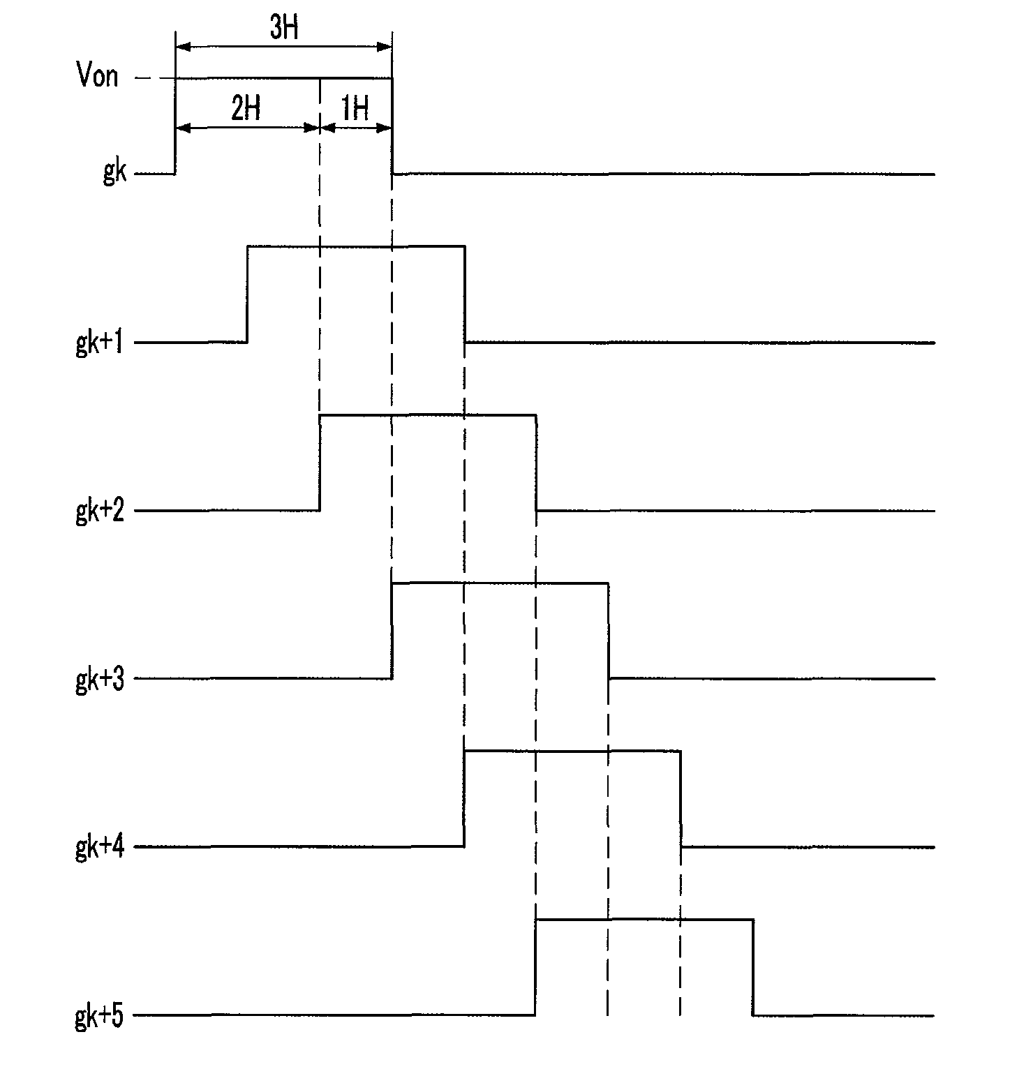
Liquid crystal display having line drivers with reduced need for wide bandwidth switching
授权日
2014-07-22
公开(公告)号
US8786536
申请日
2007-07-24
公开(公告)日
2014-07-22
当前申请(专利权)人
SAMSUNG DISPLAY CO., LTD
发明人
KIM, DONG-GYU
简单同族
CN101135825A | JP2008033322A | JP5078483B2 | KR101261607B1 | KR1020080009897A | US20080024418A1 | US8786536
简单同族成员数量
7
简单同族被引用专利总数
67
诉讼案件数
0
法律状态/事件
授权 | 权利转移
抱歉,您的浏览器不支持PDF预览,请点击链接下载PDF文件